

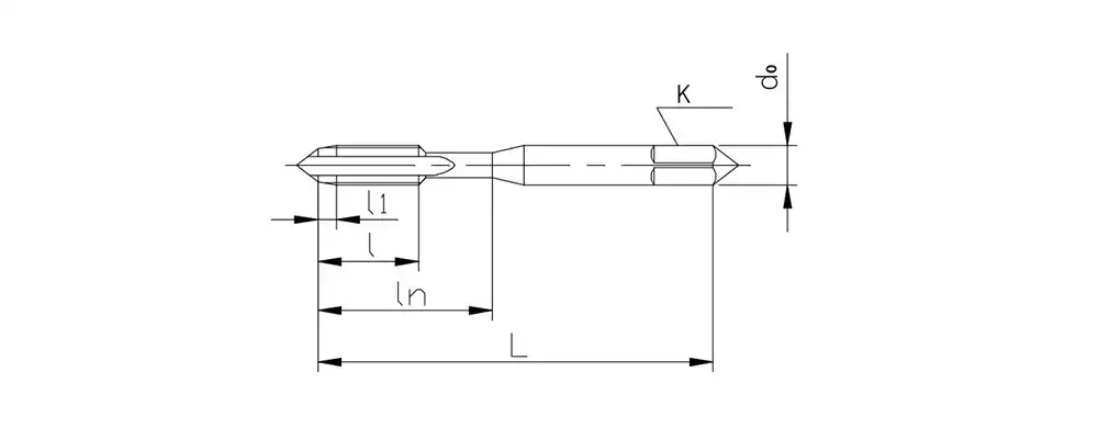
| Thread Size | Pitch | L Overall length |
l Thread Length |
l1 Cutting Length |
ln Length to neck |
d₀ Shank diameter |
K Square size |
FLUTES |
| M3 | 0.5 | 52 | 12 | 4.5P | 18.5 | 5.0 | 4.0 | 3 |
| M4 | 0.7 | 60 | 14.5 | 4.5P | 23.5 | 5.5 | 4.5 | 3 |
| M5 | 0.8 | 62 | 17 | 4.5P | 27.0 | 6.0 | 4.5 | 3 |


| Thread Size | Pitch | L Overall length |
l Thread Length |
l1 Cutting Length |
ln Length to neck |
d₀ Shank diameter |
K Square size |
FLUTES |
| M6 | 1.25 | 70 | 21 | 4.5P | 35 | 6.2 | 5.0 | 3 |
| M8 | 1.5 | 75 | 24 | 4.5P | 39 | 7.0 | 5.5 | 4 |
| M10 | 1.75 | 82 | 28 | 4.5P | 45 | 8.5 | 6.5 | 4 |
| M12 | 2.0 | 88 | 28 | 4.5P | 45 | 10.5 | 8.0 | 4 |
| M14 | 2.0 | 95 | 28 | 4.5P | 47 | 12.5 | 10.0 | 4 |
| M16 | 2.5 | 100 | 37 | 4.5P | 61 | 14.0 | 11.0 | 4 |
| M18 | 2.5 | 115 | 38 | 4.5P | 65 | 17.0 | 13.0 | 4 |
| M20 | 2.5 | 115 | 38 | 4.5P | 65 | 17.0 | 13.0 | 4 |


| Thread Size | Pitch | L Overall length |
l Thread Length |
l1 Cutting Length |
ln Length to neck |
d₀ Shank diameter |
K Square size |
FLUTES |
| M3 | 0.5 | 52 | 12 | 2.5P | 18.5 | 5.0 | 4.0 | 3 |
| M4 | 0.7 | 60 | 14.5 | 2.5P | 23.5 | 5.5 | 4.5 | 3 |
| M5 | 0.8 | 62 | 17 | 2.5P | 27.0 | 6.0 | 4.5 | 3 |


| Thread Size | Pitch | L Overall length |
l Thread Length |
l1 Cutting Length |
ln Length to neck |
d₀ Shank diameter |
K Square size |
FLUTES |
| M6 | 1.25 | 70 | 21 | 2.5P | 35 | 6.2 | 5.0 | 3 |
| M8 | 1.5 | 75 | 24 | 2.5P | 39 | 7.0 | 5.5 | 3 |
| M10 | 1.75 | 82 | 28 | 2.5P | 45 | 8.5 | 6.5 | 3 |
| M12 | 2.0 | 88 | 28 | 2.5P | 45 | 10.5 | 8.0 | 3 |
| M14 | 2.0 | 95 | 28 | 2.5P | 47 | 12.5 | 10.0 | 3 |
| M16 | 2.5 | 100 | 37 | 2.5P | 61 | 14.0 | 11.0 | 4 |
| M18 | 2.5 | 115 | 38 | 2.5P | 65 | 17.0 | 13.0 | 4 |
| M20 | 2.5 | 115 | 38 | 2.5P | 65 | 17.0 | 13.0 | 4 |