NewsContent

The structural components of twist drill bit

  Date: Oct 9, 2024

The twist drill bit consists of the following structural components:

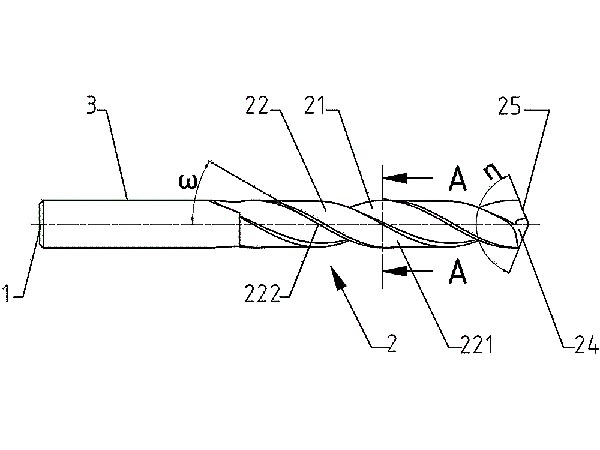
Spiral Flute

The spiral flute of a twist drill bit is typically designed with two flutes, which help in effectively removing chips during the drilling process. The spiral angle usually ranges from 30° to 45°, optimizing cutting performance. The primary role of the spiral flute is to facilitate the evacuation of chips, preventing accumulation in the hole. This helps reduce cutting heat and improves overall cutting efficiency. Additionally, the spiral design enhances the stability of force transmission during cutting.

Drill Tip

The drill tip is the front part of the twist drill, consisting of two cutting edges and a central point. The cutting edges are responsible for material removal, while the central point aids in positioning. The angle of the drill tip (commonly 118° or 135°) affects cutting performance. A smaller angle is suitable for softer materials, while a larger angle is better for harder materials. The design of the drill tip ensures accurate initial penetration and minimizes deflection.

Main Cutting Edge

The main cutting edges refer to the two cutting edges of the drill bit that directly engage with the material. They are typically angled with respect to the axis of the drill to optimize the cutting process. The shape and sharpness of the main cutting edges directly influence the cutting efficiency and the surface quality of the hole. Well-designed main cutting edges improve cutting efficiency and reduce cutting forces.

Secondary Cutting Edge

Located behind the drill tip, the secondary cutting edge helps in further processing the wall of the hole. Its design contributes to improving the surface quality of the hole. The secondary cutting edge is primarily used to refine the edges of the hole, removing potential burrs and ensuring smoothness and dimensional accuracy. This is particularly important for high-precision applications.

Drill Body Diameter

The drill body diameter refers to the outer diameter of the twist drill, chosen based on the material being processed and the required hole size. An appropriate drill body diameter ensures stability during drilling and effective force transmission. A diameter that is too large may lead to excessive cutting forces, while one that is too small might compromise hole precision.

Guiding Portion

The guiding portion is typically located between the drill tip and the main cutting edges, designed to provide better cutting guidance. The shape and length of the guiding portion influence the drill bit's positioning and penetration accuracy in the material. A well-designed guiding section reduces deflection and ensures accurate hole placement.

Chip Removal Flute Width

The width of the chip removal flutes impacts the efficiency of chip evacuation. If the flute width is too narrow, it may lead to chip accumulation, affecting cutting performance. An optimal chip removal flute width effectively clears chips from the cutting area, reducing heat buildup and enhancing the drill bit's longevity and cutting efficiency.